Printable Discs
The printing area of the printable disc is from 0.67 inch (17 mm) of the internal diameter to 0.04 inch (1 mm) from the external diameter of the printing surface.

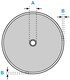
Printable area
- A: 0.67 inch (17.0 mm)
- B: 0.04 inch (1.0 mm)

S114
The printing area of the printable disc is from 0.67 inch (17 mm) of the internal diameter to 0.04 inch (1 mm) from the external diameter of the printing surface.

Printable area